麻豆传媒视频在线播放,麻豆免费版下载安装,麻豆精品国产AV,麻豆视频最新网址

    产品中心

    product center

    麻豆精品国产AV无齿型-麻豆免费版下载安装

    • 产品名称: 麻豆精品国产AV无齿型-麻豆免费版下载安装
    • 产品分类: 麻豆精品国产AV(11系列)
    • 联系方式: 0535-8331991
    • 公司名称: 招远市麻豆传媒视频在线播放机械制造有限公司
    • 公司地址:山东省招远市开发区河东路999号
    • 添加时间: 19/08/21
    产品详情


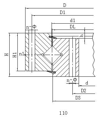
    麻豆精品国产AV回转支承(11系列)——无齿式
    结构特点、性能、适用范围 
    麻豆精品国产AV回转支承,由两个座圈组成,结构紧凑、重量轻、制造精度高,装配间隙小,对安装精度要求高,滚柱为1:1交叉排列,能同时承受轴向力,倾翻力矩和较大的径向力,被广泛地用于起重运输、工程机械和军工产品上。



    点击次数:   更新时间:19/08/21 15:45:08  
    网站地图